На какой высоте смеситель в ванной: Страндартная высота установки смесителя от пола в ванной комнате (видео, фото)
Высота установки сантехники
- Bathstudio.ru
- Высота установки сантехники
Это важно знать
Высота установки смесителей от уровня чистого пола:
- 800 мм для водоразборных кранов в банях, смывных кранов унитазов, смесителей инвентарных моек в общественных и лечебных учреждениях, смесителей для ванн;
- 1100 мм для смесителей и моек клеенок в лечебных учреждениях, смесителей общих для ванн и умывальников, смесителей локтевых для хирургических умывальников;
- 600 мм для кранов, обеспечивающих подачу воды для мытья полов в туалетных комнатах общественных зданий;
- 1200 мм для смесителей душа.
| Санитарные приборы | Высота установки от уровня чистого пола, мм | ||
| В жилых, общественных и производственных зданиях | В школах и детских лечебных учреждениях | В дошкольных учреждениях и в помещениях для инвалидов, передвигающихся с помощью различных приспособлений | |
| Умывальники* (до верха борта) | 800 | 700 | 500 |
| Раковины и мойки** (до верха борта) | 850 | 850 | 500 |
| Ванны (до верха борта) | 600 | 500 | 500 |
| Писсуары настенные и лотковые (до верха борта) | 650 | 500 | 400 |
| Душевые поддоны (до верха борта) | 400 | 400 | 300 |
| ПРИМЕЧАНИЯ Допускаемые отклонения высоты установки санитарных приборов для отдельно стоящих приборов не должны превышать ±20 мм, а при групповой установке однотипных приборов 5 мм. Смывная труба для промывки писсуарного лотка должна быть направлена отверстиями к стене под углом 45° вниз. При установке общего смесителя для умывальника и ванны высота установки умывальника должна быть 850 мм до верха борта. Высота установки санитарных приборов в лечебных учреждениях должна приниматься следующей, мм:
| |||
* Умывальник — керамическое изделие, то, что обычно мы называем раковиной
** Раковина (согласно ГОСТ 30493-96) — раковина стальная эмалированная.
Высота установки смесителей от уровня чистого пола:
- 800 мм для водоразборных кранов в банях, смывных кранов унитазов, смесителей инвентарных моек в общественных и лечебных учреждениях, смесителей для ванн;
- 800 мм для смесителей видуаров с косым выпуском;
- 1000 мм для смесителей видуаров с прямым выпуском;
- 1100 мм для смесителей и моек клеенок в лечебных учреждениях, смесителей общих для ванн и умывальников, смесителей локтевых для хирургических умывальников;
- 600 мм для кранов, обеспечивающих подачу воды для мытья полов в туалетных комнатах общественных зданий;
- 1200 мм для смесителей душа.
Душевые головки должны устанавливаться на высоте:
- от 2100 до 2250 мм, отмеренной от низа сетки душа до уровня чистого пола;
- от 1700 до 1850 мм в кабинах для инвалидов;
- 1500 мм, отмеренной от днища поддона, в детских дошкольных учреждениях. Отклонения от размеров, указанных в настоящем пункте, не должны превышать 20 мм.
Высота установки раковины, ванны и смесителя — стандарты
Положение сантехнических приборов – раковины (умывальника), ванны, душевой кабинки, унитаза, смесителей – зависит от размеров помещения и габаритов пользователей. Однако для некоторых параметров установки существуют выведенные эмпирическим путем стандарты, и им желательно следовать.
Содержание статьи
Нормативы согласно СНиП
Строительные нормы и правила (СНиП) основаны на статистических исследованиях, проверке теоретических выкладок практикой – то есть удобством использования сантехники в санузлах квартир и общественных заведений. При этом сборники правил нормируют основные требования к устройству тех или иных строительных конструкций.
Согласно СНиП 3.05.01-85 высота установки раковины в ванной (вне зависимости от того, частный санузел или общего пользования) составляет 800…850 мм от пола, допустимое отклонение +/-20 мм. Для школ, детских садов, больниц и поликлиник, мест посещения инвалидов или людей с временно ограниченной подвижности параметр может варьироваться.
Важно: при установке совместного для раковины и ванны смесителя его положение определяется по более высоко расположенному сантехприбору, обычно раковине. Таким образом, высота раковины в ванной от пола (стандарт) по верху бортика и высота установки смесителя в ванной (по нижней грани корпуса) одинаковы.
Стандарт РФ ориентирован на монтируемые строителями при массовой застройке приборы. Так, высота установки ванны от пола в таблице приведена для типового чугунного или стального изделия с ножками. Для акриловых, современных чугунных и стальных ванн, стеклянных моделей положение определяется индивидуально, в соответствии с геометрией моделью и способом ее монтажа. Если изделие устанавливается на подиум, расстояние от чистового пола до верха бортика рассчитывается от верхней плоскости подиума. Так, высота акриловой ванны определяется высотой подиума, типом опор и подкладок под чашу.
Помимо высоты ванны от пола (стандарт) и положения бортика раковины, нормируется необходимая свободная зона перед сантехническими приборами и расстояние между ними.
Важно понимать: нормы размещения сантехники обоснованы, но не являются неоспоримыми. При отсутствии других вариантов можно менять взаимное положение приборов так, чтобы обеспечить пользователям (с учетом их физических особенностей) комфортное нахождение в санузле.
Совмещение приборов
При необходимости установить раковину так, чтобы ее бортик находился частично над бортиком ванны или душевого поддона, допустима «накладка» до полной ширины одной из бортов. Для модели «тюльпан» (с пьедесталом) высота раковины от пола определяется именно пьедесталом, как и возможность смещения чаши в сторону ванны. Для полупьедесталов параметры более вариативны.
Если экономия места особо жесткая и необходимо выполнить более сильное смещение, возможно почти полностью расположить раковину над узким концом фигурной ванны.
В таком случае обязательно нужно обеспечить удобный подход к умывальнику и возможность его полноценного использования.
Высота умывальника в ванной от пола в таких вариантах определяется положением бортика ванны и длиной, а также формой и расположением сифона. В таких комбинированных установках обычно используются специальные модели с уменьшенными рабочими элементами. Популярны также умывальники с несимметричным расположением сливного отверстия и, соответственно, сифона.
Еще один интересный способ экономии места – расположение раковины над стиральной машиной. В таких случаях устанавливают машины с уменьшенной высотой (600…700 мм вместо стандартных 800…850 мм) и специальные раковины. В них слив смещен в один из углов или ближе к задней стенке так, чтобы он не мешал установке стиральной машине. При правильном выборе и монтаже сантехника не страдает от вибрации в процессе полоскания или отжима белья.
Вопрос, на какой высоте вешать раковину в ванной, определяется при этом высотой стиральной машины и размером зазора между ее верхней плоскостью и дном умывальника, а также положением слива и сифона.
Еще один вариант совмещения для маленьких санузлов – умывальник, расположенный над бачком унитаза. Здесь возможны две комбинации – либо раковина, частично нависающая над бачком, либо модель, где чаша вмонтирована в бачок. В этом случае возможна дополнительная экономия воды. Использованная во время гигиенических процедур жидкость сливается в бачок и дальше идет для смыва в унитазе.
Стандартная высота раковины от пола в ванной может быть выдержана или изменена, все зависит от компоновки устройств и расположения свободного пространства рядом.
Дополнительно сэкономить место и уменьшить расход воды позволяют другие комбинации оборудования, например, монтаж стиральной машины над унитазом. Часто ее монтируют в нишу или на специально организованный выступ, но «продвинутые производители» предлагают и комплекты с особой системой креплений.
Смесители общие и отдельные
Смеситель для доставки воды в раковину, ванну или душевую кабинку могут быть отдельными для каждого устройства или использоваться для двух-трех одновременно.
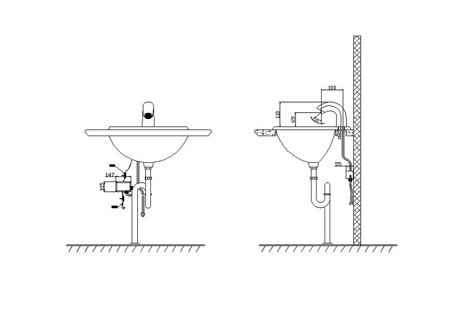
Высота смесителя над ванной определяется удобством регулировки воды при использовании обоих сантехнических приборов, доступностью регулировочного рычага или вентилей для лежащего в ванне человека.
На приведенной схеме учтена стандартная высота ванны, при подъеме ее на подиум, встраивании в ложе или использовании иной системы монтажа параметры меняются.
Важно: смеситель с термостатом и автоматической регулировкой температуры воды можно монтировать выше обычного.
В душевых отсеках и кабинах смесители обычно устанавливаются так, чтобы другие сантехнические приборы ими не обслуживались. При этом различаются устройства со стоячим (в основном) и сидячим (гораздо реже) положением пользователя. С учетом выпуска душевых боксов и кабин стандартных размеров важно учитывать их габариты при выборе положения смесителя.
Для отсеков таких нормативов не предусмотрено, здесь размеры помещения зависят только от компоновки отведенных для гигиенических процедур помещений и задуманного дизайна. Однако в среднем высота смесителя в душе от поддона (дна) составляет 800…1000 мм. Имеется в виду положение корпуса с регулировочными элементами.
Для правильного выбора положения принимают во внимание состав пользователей и их габариты, а также привычные позы во время принятия душа. Если в душевой кабинке (отсеке) предусмотрено сидение, корпус смесителя монтируется с учетом удобного доступа к нему сидящего пользователя.
Если в роли душевого поддона используется ванна, при расчете расстояния учитывается высота ванны от пола с ножками (стандарт) и расстояние от чистого пола до дна ванны.
Положение напольного и настольного смесителя
В отличие от настенных смесителей, чье размещение жестко нормируется в соответствии с требованиями эргономики и удобства монтажа, высота напольного смесителя определяется только его конструкцией.
Типовые модели рассчитываются для определенных моделей ванн или умывальников (обычно тоже напольных), монтируются на пол или на небольшое возвышение.
В целом высота смесителя в ванной от пола (стандарт) соответствует обычному положению настенной модели, при очень высоких ваннах используются дополнительную ступень.
Для встроенных раковин и умывальников положение смесителя определяется исключительно высотой столешницы или бортика раковины. Поэтому стандартная высота раковины от пола в ванной и высота столешницы в ванной обычно совпадают.
Важно: если высота тумбы под раковину в ванную комнату не соответствует стандартам, ее можно закрепить навесным методом или установить на подиум. В этом случае разница между эргономически выверенным положением и реальной высотой нивелируется.
Аксессуары и полезные мелочи
Помимо расположения сантехнических приборов важно также правильно разместить аксессуары – зеркало, держатели для полотенец и зубных щеток, полочки и подставки.
Определять, на какой высоте вешать зеркало в ванной, следует в зависимости от роста и привычек пользователей. Удачным вариантом может оказаться стационарная, закрепленная на стене зеркальная панель и дополнительное зеркало на телескопическом или раздвижном штативе с возможностью вращения. Желательна также подсветка.
При таком штативе высота зеркала в ванной не является определяющей и может выбираться в зависимости от удобства компоновки.
Другие детали, облегчающие пользование санузлов, располагаются так, чтобы посетитель мог легко дотянуться до любого из предметов, но при этом они не мешали свободным перемещениям и не загромождали ванную комнату.
Важно: устраивая санузел в доме, где есть инвалиды или люди с ограниченной подвижностью, маленькие дети, необходимо либо смещать аксессуары ниже, на доступный им уровень, либо добавлять элементы.
Поручни и держатели возле ванны, душевой кабинки, унитазы не считаются обязательными, если все пользователи здоровые и взрослые люди без проблем с лишним весом.
Они добавляются только в тех случаях, когда есть риск травм из-за скользких покрытий (хотя лучше заменить сами покрытия) и при определенных проблемах с подвижностью у посетителей ванной комнаты.
Положение поручней и их тип, а также способ крепления нормируются в соответствии с характером проблем пользователей и являются едиными только для общественных санузлов, где все вспомогательные детали крепятся по усредненной схеме.
Для индивидуального санузла размеры лучше рассчитывать с учетом особенностей пользователей.
Кстати: поручни и нескользящие коврики пригодятся не только инвалидам. Полные люди, беременные женщины, дети – всем им будет полезна дополнительная опора и защита от случайных повреждений.
Выводы
Расчет положения сантехнических приборов и вспомогательного оборудования, мебели и аксессуаров в ванной комнате не обязательно должен полностью опираться на статистические данные и СНиП. Для проверки, подходит ли конкретной семье стандартная высота ванны от пола с ножками или высота крана над ванной, стоит «прикинуть на себя» эргономические параметры помещения и выбрать оптимальный вариант размещения.
Для проверки стандартных размеров необходима помощь – с рулеткой или длинной линейкой помощник определяет разницу между типовыми и индивидуальными данными и выбрать из предложенных диапазонов конкретное значение.
Как выбрать смеситель для раковины в ванной
Как и при любой замене или ремонте, начните с учета потребностей вашей семьи.
- Вы моете голову в раковине? Облегчите жизнь с носиком с высокой дугой.
- Вы мечтаете о ванной комнате кинозвезды с ограниченным бюджетом? Сегодня в каждом ценовом диапазоне есть высококачественные смесители, так что не ограничивайте себя.
- Соседские дети собираются у вас дома? Минимизируйте простуду с помощью сенсорного крана или смесителя без помощи рук в детской ванной комнате.
Помните, что если вы заменяете смеситель для раковины в ванной, но сохраняете раковину или уже выбрали новую раковину, вы ограничены смесителями, которые работают с типом крепления и количеством предварительно просверленных отверстий в раковине.
.
Убедитесь, что ваш смеситель подходит по трем параметрам: к раковине, декору ванной комнаты и вашему образу жизни.
Сколько вы можете потратить?
Во-первых, получите представление о ценовом диапазоне понравившихся вам товаров. Консультанты Riverbend Home часто могут найти альтернативу, которая даст вам желаемый вид по более низкой цене, или приспособление в стиле, который вы предпочитаете, с улучшенными функциями.
Качество имеет значение
Материал
Ранее считалось, что во избежание протечек и для длительного срока службы смесители должны быть сделаны из металла внутри и снаружи, предпочтительно из латуни.
Однако большинство металлов, включая латунь, выделяют в воду небольшое количество свинца. Действующие правила ограничивают количество свинца, которое могут содержать смесители, изготовленные после 4 января 2014 года. С тех пор, как этот закон вступил в силу, производители уменьшили или убрали свинец в бытовых смесителях.
Некоторые компании, которые хотят полностью отказаться от свинца, используют пластик в корпусе смесителя. Это не новая практика, но ранее она считалась признаком низкого качества, клеймом, с которым этим компаниям придется бороться. Другие производители находят другие способы соответствовать стандартам. Как и в любом аспекте вашего проекта, будьте в курсе и задавайте вопросы.
Клапаны или картриджи, контролирующие поток воды в вашем кране, также являются фактором качества продукта. Смесители без омывателя, особенно те, в которых используются новые картриджи с керамическими дисками, меньше капают и служат дольше.
Говоря о стоимости…
Допустим, кран в крупном дисконтном магазине выглядит так же, как тот, который вам нравится в Riverbend Home или в другом авторитетном источнике, который продает только качественные продукты напрямую от лучших производителей. Иногда внутренности смесителя со скидкой могут быть более низкого качества, чем более дорогая версия, и на самом деле невозможно сказать, просто взглянув на него.
В этом случае вы можете сэкономить несколько долларов, но упрощение модели магазина в долгосрочной перспективе будет стоить вам денег и времени.
Выберите подходящее крепление для смесителя для ванной комнаты
Установка на столе или на стене: Как и на кухне, настенные смесители становятся все более популярными, но они больше всего подходят для раковин определенного стиля. Например, смеситель для настенного монтажа может выглядеть потрясающе над раковиной, настенной раковиной или даже некоторыми раковинами, устанавливаемыми под столешницу.
Смеситель с одной ручкой: Если ваша раковина имеет одно отверстие, вам нужен смеситель с одной ручкой. Это не ограничит ваш выбор. Многие потрясающие новые дизайны смесителей представляют собой крепления с одним отверстием, причем многие традиционные стили и стили декоративно-прикладного искусства доступны наряду с современными и переходными стилями.
Смеситель с двумя ручками: Термины «широкий» и «центральный» важны, если вас интересует смеситель для раковины с двумя ручками.
Смесители для раковины Centerset компактны, с изливом и двумя ручками, объединенными в одну опорную плиту.
- Крепление с 2 или 3 отверстиями (см. спецификации)
- Обычно расстояние между ручками составляет 4 дюйма
- Для небольших раковин
- Может быть труднее чистить, так как ручки и носик расположены близко друг к другу
Широко распространенные смесители для раковины имеют две ручки, отдельные от излива в центре. Три элемента могут быть установлены непосредственно в столешнице, раковине или на накладке.
- Крепление на 3 отверстия (или на палубу)
- Обычно расстояние между двумя ручками составляет 8 дюймов, но может быть до 16 дюймов
- Для больших поверхностей мойки
- Легче чистить
Примечание. Специальная категория, называемая мини-раскладкой, предлагает внешний вид раскладушки с 4-дюймовым разворотом центрального набора.
Выберите стиль смесителя для раковины в ванной комнате
Подберите то, что у вас есть
Как и кухонные раковины, смесители для ванной должны гармонировать с общим декором.
Мы классифицировали наши стили смесителей, чтобы упростить подбор смесителей к преобладающему стилю в вашем доме или смешивать и сочетать схемы, которые подходят именно вам.
В то время как кухонные смесители часто действуют в одиночку или с одним сообщником, смесители для ванных комнат путешествуют стаями. У тебя есть смеситель для раковины. Ваш смеситель для душа или смесители и смесители для ванны. Некоторые люди также хотят скоординировать смеситель для биде или ручку смыва унитаза.
Если вы из тех людей, которые создают эклектичный микс с размахом, это здорово. Но если вы хотите быть немного более традиционным, выберите смеситель для раковины с гармонирующим набором или набором другой сантехники.
Если вы просто заменяете одно приспособление, независимо от того, предпочитаете ли вы тот же стиль или нет, вы, скорее всего, захотите, чтобы отделка вашего нового смесителя соответствовала уже имеющимся приспособлениям.
Изливы
Существует много красивых смесителей для ванных комнат с изливом стандартной формы, но, к счастью для тех из нас, кто любит большой выбор, дни трех или четырех стандартных форм прошли.
Вот некоторые новые тенденции:
Смесители с высоким изгибом отличаются элегантным внешним видом, а также удобством мытья всего, что необходимо помыть, наполнения высоких сосудов и т. д. санузлы тоже.
Смесители с высоким изливом предназначены для работы над раковинами в сосудах и над раковинами. Иногда эти продукты могут представлять собой комплекты, состоящие из смесителя стандартной высоты с удлинителем.
Примечание о сливах
Небольшое количество смесителей для ванных комнат продается без сливного узла. Это иногда отмечается в описаниях продуктов терминологией «меньше стока». Если вы выберете один из этих смесителей, вам нужно будет приобрести сливной узел отдельно. Где это уместно, Riverbend Home отмечает это требование в пунктах, сопровождающих информацию о продукте.
Выберите отделку смесителя для ванной комнаты
Faucet Finish — это декоративное защитное покрытие вашего светильника. Различные металлы производят очень разные эффекты.
Вы также можете выбрать блестящую, полированную поверхность или более теплую, слегка текстурированную поверхность, которую можно назвать матовой, сатинированной или матовой в зависимости от материала и производителя.
Состаренная бронзовая отделка придает смесителю для ванной интерес и текстуру.
Каждый хочет прочный смеситель, и отделка прошла долгий путь в этом отделе. Согласно Consumer Reports, «более прочная отделка теперь распространена на всех смесителях, кроме самых дешевых».
PVD (физическое осаждение из паровой фазы) — довольно новый процесс приклеивания покрытия к смесителю. С PVD покрытие становится неотъемлемой частью смесителя, а не просто покрытием. Отделка смесителей, выполненная с использованием этого процесса, устойчива к потускнению, царапинам и коррозии и сохраняет свой новый вид в течение очень долгого времени. Отделки, которые должны состариться до патины, обычно не используют технологию PVD.
Проверьте гарантию на отделку, которая может отличаться от общей гарантии на смеситель и даже может различаться для двух разных отделок от одного и того же производителя.
В приведенной ниже таблице представлена общая информация. Все производители и продукты разные, поэтому используйте их в качестве отправной точки для собственных исследований.
| Отделка | Опции | Плюсы | Минусы |
|---|---|---|---|
| Латунь | Глянец, сатин, антик | Прочный, прочный, подчеркивает антикварные и винтажные декоры | Может быть дорогостоящим |
| Бронза | Сатин, матовый | Устойчив к царапинам; дополняет нейтральный декор | При перепродаже выпуск может не всем понравиться |
| Бронза, протертая маслом | н/д | Устойчив к царапинам; усиливает традиционный, средиземноморский или деревенский декор | Темный цвет не подходит для любого декора |
| Хром | Полированный, матовый, матовый | Самый экономичный; прочный; улучшает многие декоры; возрождение популярности | Может показывать водяные знаки; протрите салфеткой из микрофибры |
| Никель | Сатин, матовый, полированный | Прочный, простой в уходе, универсальный; придает элегантность и благородство декору | Может быть дорогостоящим |
| Нержавеющая сталь | Полированный, матовый, матовый | Экономичен, не подвержен коррозии и не тускнеет, легко моется; дополняет современный декор | На полированной текстуре могут быть видны водяные знаки |
Выберите специальные функции
Смесители без помощи рук и сенсорные смесители: Ванная комната — это место, где мы естественно заботимся о гигиене.
Смесители с функцией громкой связи включаются, когда вы проводите руками под изливом. Сенсорные смесители позволяют включать воду, касаясь носика или ручек любой частью руки.
Этот стильный гигиеничный смеситель активируется либо подведением руки под излив, либо прикосновением к нему любой частью руки.
Водосберегающие смесители: Когда вы видите символ WaterSense®, вы знаете, что смеситель соответствует спецификациям водосбережения, установленным EPA. Он рассчитан на максимальную скорость потока 1,5 галлона в минуту (гал/мин).
ADA: Закон об американцах с ограниченными возможностями относится к государственному законодательству, устанавливающему стандарты приспособления зданий и сооружений для людей с особыми потребностями.
Чтобы быть отмеченными как соответствующие требованиям ADA, смесители для ванных комнат должны быть установлены на раковинах, соответствующих требованиям ADA, для возрастной группы, которая в основном будет пользоваться этим средством.
Смесители должны управляться одной рукой, без сильного захвата или скручивания, и должны приводиться в действие с усилием не более пяти фунтов. Ручные дозирующие краны должны оставаться открытыми не менее 10 секунд.
Обозначение ADA часто понимают неправильно. Требования законодательства, как правило, направлены на зоны общественного доступа. В то время как продукты, отвечающие требованиям, также могут быть полезны для дома, гораздо более широкий ассортимент стильных товаров для кухни и ванной был адаптирован для домовладельцев, которые планируют стареть на месте, а также для людей с неотложными потребностями в доступности.
МАГАЗИН СМЕСИТЕЛЕЙ ДЛЯ ВАННОЙ
Метки:
Баня,
Руководство по покупке,
Высота смесителя над раковиной сосуда | Высота раковины сосуда
Переместите, ванны. В современном дизайне ванных комнат особое внимание уделяется новому приспособлению, и имя ему — раковина-чаша.
Make a Splash,
С эстетической точки зренияРаковина-чаша продолжает удивлять как экспонат ванной комнаты.
Раковины в виде чаши, как правило, выглядят как чаша, стоящая на прилавке, но эта «чаша» может принимать разные формы. Некоторые кажутся плоскими. Они могут быть круглой или овальной формы для асимметричных силуэтов или геометрических углов. Независимо от вашего выбора, современная раковина-чаша станет прекрасным украшением ванной комнаты. Одна из самых важных вещей, которые следует учитывать при покупке и установке раковины-чаши, — это высота смесителя. Раковины-чаши могут вызывать всплеск эстетически, но распространенная жалоба связана с фактическим всплеском.
На какой высоте должен быть кран над раковиной?
Стандартная высота составляет не менее 6 дюймов от дна чаши раковины до излива крана. Чтобы свести к минимуму случайные капли, установите смеситель ближе к чаше раковины и, если возможно, переместите кран назад.
Если вы прошли стадию проектирования, попробуйте уменьшить давление воды, чтобы уменьшить разбрызгивание. Помните: цель — больше брызг и меньше брызг.
4 Дополнительные советы по установке раковины для посуды
Противоречить интуиции
Благодаря своей конструкции доступ к раковине сосуда выше, чем у обычной раковины, встроенной в столешницу; поэтому вам следует подумать об уменьшении высоты туалетного столика или столешницы в ванной.
Плывите по течению
Выберите кран, из которого вода постоянно течет в чашу; также учитывайте высоту крана, убедитесь, что кран достаточно высок, чтобы не касаться края чаши.
Добавьте изюминку со специальной отделкой
Сосуды бывают самых разных отделок и цен. В то время как ранние версии были в основном сделаны из керамики и фарфора, чаша эволюционировала и теперь включает такие материалы, как сусальное золото, хрусталь, алюминий, матовую платину, гранит, нержавеющую сталь и медь.
